让“好房子”从蓝图照进现实
股票

让“好房子”从蓝图照进现实

初夏时节,走进位于武汉光谷的中建壹品·汉韵公馆项目现场,楼栋主体已全部封顶,中央水景轮廓初显,工人们正有序进行精装修与园林绿化施工。这个预计年底交付的湖北省智能建造试点项目,正是湖北“好房子”建设从理念走向落地的缩影。去年5月,住建部出台实施《住宅项目规范》,明确了“好房子”建设标准。在此基础上,湖北较早构建起政策支撑体系,将“安全、舒适、绿色、智慧”的要求转化为具体的居住体验,系统推动房地产行业......

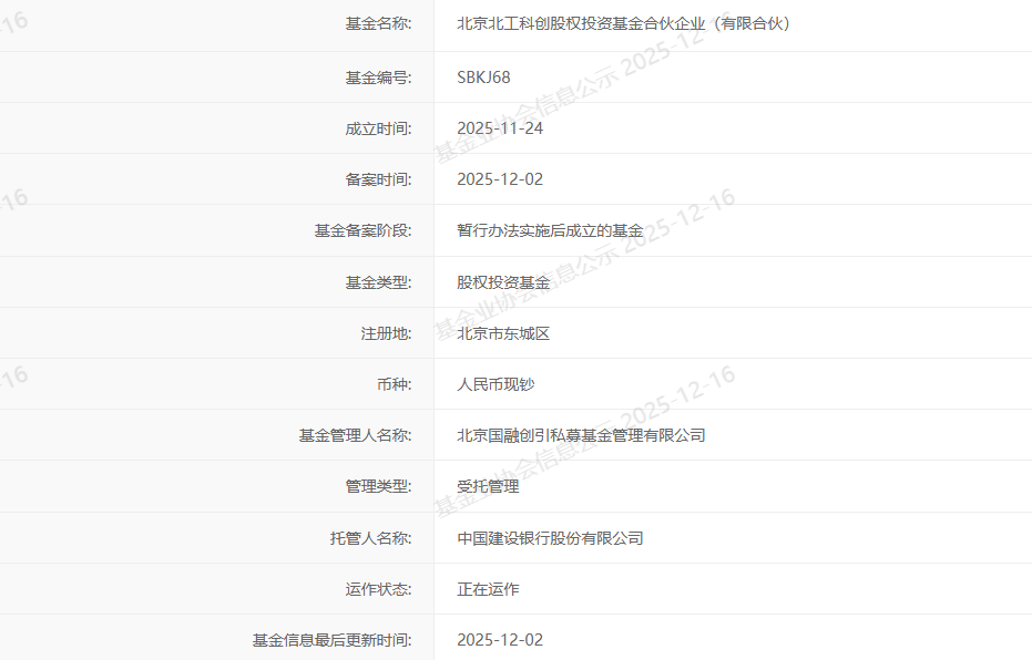
今年前5月A股IPO市场保持平稳发行
股票

今年前5月A股IPO市场保持平稳发行

中国上市公司协会5月26日发布的4月份统计月报显示,4月全市场新增首发上市公司19家,首发募资总额211.71亿元;全市场境内股份总市值117.2万亿元,环比上月增长7.9%。Wind数据显示,5月以来A股IPO市场保持平稳发行节奏,截至5月26日共有10家企业完成首发上市,包括振宏股份、春光集团、长裕集团等,累计募集资金约95.52亿元。平均每家企业募集资金约9.55亿元。从募集资金规模来看,单......

福瑞泰克冲刺港股IPO:收入激增77.7%背后,客户集中度高达94.6%暗藏隐忧
股票

福瑞泰克冲刺港股IPO:收入激增77.7%背后,客户集中度高达94.6%暗藏隐忧

主营业务与商业模式:智能驾驶解决方案供应商,依赖ODIN平台 福瑞泰克是一家驾驶辅助解决方案供应商,主要为OEM客户提供从L0级到L2+级的智能驾驶解决方案,包括FT Pro、FT Max和FT Ultra三大产品线。公司核心竞争力在于自主研发的ODIN平台,该平台整合了控制器、传感器、软件算法和数据闭环平台四大模块,形成可扩展、可复用、可迭代的模块化架构。 公司业务模式以To B为主,通过与OE......

涛涛车业冲刺港股IPO:三年净利润激增191%背后,美国市场依赖与库存周转隐忧
股票

涛涛车业冲刺港股IPO:三年净利润激增191%背后,美国市场依赖与库存周转隐忧

主营业务:全球电动低速车龙头,美国市场贡献超80%收入 浙江涛涛车业专注于电动出行产品及动力运动产品,主要包括电动低速车、电动两轮车(电动自行车、电动滑板车、电动平衡车)以及全地形车、越野摩托车等。根据弗若斯特沙利文数据,按收入计,公司2025年在全球电动低速车行业排名第一,市场份额约10.9%。 公司采用DENAGO、GOTRAX、TEKO及TAO MOTOR四大自主品牌矩阵,自有品牌收入占比超......

溜溜梅:青梅果類零食公司——通過港交所聆讯,或很快香港上市
股票

溜溜梅:青梅果類零食公司——通過港交所聆讯,或很快香港上市

近日,溜溜梅股份有限公司(简称“溜溜梅”)递交聆讯后资料集,或很快在香港上市。中信证券(香港)有限公司及国元融资(香港)有限公司担任联席保荐人。 根据招股书披露,本次港股上市募集资金将用于以下用途: 1. 于未来三年用于扩大产能; 2. 于来年用于提升品牌知名度、扩大销售网络及开拓国际市场; 3. 用于招聘研发人员及推进研发计划; 4. 用作运营资金及一般公司用途。 附招股书链接(注:原文未提供具......

网售处方药新规出台 线上线下监管标准趋同中小平台承压
股票

网售处方药新规出台 线上线下监管标准趋同中小平台承压

证券时报记者 卓泳 张一帆 实习生 周姝涵 5月25日,国家药监局综合司正式发布《处方药网络零售合规指南》(下称《指南》),围绕实名购药、配备药师、信息真实、风险预警、未成年人保护五大核心,对处方药网络零售的销售流程作出系统性规范。 《指南》重点强化线上处方药审方、销售全链条的合规管控,明确多项刚性要求:网售处方药必须凭真实处方、实名制销售,严禁AI替代执业药师审方、重复使用处方,同时将日均审方数......

IPO上会前夕 长鑫科技董事长减持兆易创新
股票

IPO上会前夕 长鑫科技董事长减持兆易创新

5月26日晚间,兆易创新(603986)公告称,公司当日收到控股股东、实控人朱一明发来的《关于权益变动比例触及1%刻度的告知函》。值得注意的是,朱一明不仅是兆易创新实控人,同时也是长鑫科技董事长。据上交所信息显示,长鑫科技科创板IPO将于5月27日上会。 据长鑫科技招股书,朱一明于2005年创办兆易创新,2005年4月至2018年7月任兆易创新总经理,2005年4月至今任兆易创新董事长。2018年......

SpaceX与特斯拉合并传闻再起,马斯克推动火箭公司赴纳斯达克上市
股票

SpaceX与特斯拉合并传闻再起,马斯克推动火箭公司赴纳斯达克上市

【相关阅读】AI、火箭、电动车一次打包?SpaceX上市前夕 合并特斯拉传闻再起 马斯克突传大消息!凌晨商业航天赛道全线暴涨!   根据富时指数的新规则 SpaceX即将快速纳入美国及全球指数   SpaceX IPO引发太空热 火箭和卫星股大涨   随着埃隆·马斯克准备带领第二家市值万亿美元的公司上市——此举很可能使他执掌美国十大最具价......

多空分歧加剧,百亿资金净流出
股票

多空分歧加剧,百亿资金净流出

● 本报记者 张舒琳 5月26日,A股市场继续呈现鲜明的结构性分化格局。全市场个股下跌数量多于上涨数量,但深证成指、创业板指均收涨。ETF涨幅前十均被有色金属与黄金股ETF包揽,前一交易日大涨的科创芯片设计ETF、电网设备ETF则跌幅居前。 值得关注的是,资金“边涨边撤”,5月25日超400亿元资金从ETF市场净流出,宽基指数ETF、芯片相关ETF资金净流出较多。 有色金属与黄金股ETF领涨 5月......

券商利益冲突管理迎来全面“体检”
股票

券商利益冲突管理迎来全面“体检”

● 本报记者 赵中昊 当证券业的竞争从牌照红利转向综合金融服务能力的深水区,如何平衡商业利益与客户利益,如何在集团化扩张中守住合规底线,如何在跨境展业中化解监管与文化差异,正成为行业内部治理的重中之重。 中国证券报记者日前从业内获悉,中国证券业协会近期在行业内启动证券公司利益冲突管理现状调研。调研问卷共计46问,覆盖公司基本情况、管理框架、业务利益冲突管理、跨业务协同、集团化管理及跨境业务、高管利......

突发,002760,终止重大资产重组!脑机接口商业化进程加速,5股获机构密集评级
股票

突发,002760,终止重大资产重组!脑机接口商业化进程加速,5股获机构密集评级

脑机接口作为 “十五五” 规划纲要明确前瞻布局的未来产业之一,近期获地方密集支持。 凤形股份(002760)5月26日晚间发布公告,公司此前拟购买白银华鑫75%股权并发行股份募集配套资金,此次交易预计构成重大资产重组,不构成重组上市。公司决定终止本次发行股份购买资产并募集配套资金暨关联交易的事项。 根据公司2025年12月17日发布公告,标的公司白银华鑫主要从事危险废物处置业务及再生资源回收利用业......

29股股息率超4% 价值板块安全边际增厚
股票

29股股息率超4% 价值板块安全边际增厚

证券时报记者 陈见南 在当下的市场环境中,价值板块与成长板块呈现出鲜明的风格对立与走势分化。前者主要指代银行、煤炭、白酒等传统行业龙头,其特征是估值处于低位、分红稳定,但业绩增长相对平缓;后者则聚焦于人工智能和半导体等高弹性、高估值的科技成长股。 市场分析指出,近期价值板块持续疲软主要受两大核心因素掣肘:一是市场风格的剧烈轮动。2026年以来,资金加速向“新质生产力”相关领域聚集,科技主线凭借强劲......

“应退尽退”成常态 近日多家公司触及退市红线
股票

“应退尽退”成常态 近日多家公司触及退市红线

近期,多家A股上市公司触及终止上市条件。比如,5月25日,*ST万方发布公告称,因触及交易类强制退市情形,公司股票被深圳证券交易所作出终止上市决定。5月22日,*ST熊猫、*ST国化、*ST华嵘、*ST岩石4家公司同日发布公告,均因触发财务类强制退市指标,收到上海证券交易所对其股票终止上市的决定,公司股票将进入退市整理期交易。 东源投资首席分析师刘祥东在接受《证券日报》记者采访时表示,近期多家*S......

AI眼镜新品频发 产业链追“光”逐“芯”
股票

AI眼镜新品频发 产业链追“光”逐“芯”

AI眼镜的“iPhone时刻”尚未到来,赛道已然沸腾。进入二季度,雷鸟创新、阿里千问等厂商密集发布新品,谷歌则预告秋季推出首款AI眼镜。 市场热度之下,A股AI眼镜产业链加速追“光”逐“芯”。在带显示功能的AI眼镜中,光学部件占据近一半成本,适配户外强光场景的Micro LED显示技术成为企业重点布局方向。主控芯片同样是核心成本环节,占比两成至三成,恒玄科技、芯原股份等A股公司纷纷卡位布局。 AI......

两项光伏行业强制性国标发布 助力光伏产业从“规模领先”向“价值领先”转变
股票

两项光伏行业强制性国标发布 助力光伏产业从“规模领先”向“价值领先”转变

5月26日,上海证券报记者获悉,工业和信息化部日前正式发布《光伏组件安全要求》和《光伏组件铭牌标识要求》两项强制性国家标准,实施日期为2027年6月1日。此举将对规范光伏行业竞争秩序、推动产业升级发展起到重要作用。 光伏行业专家对记者表示,中国光伏产业经过数十年的快速发展,已实现全产业链领跑,但当前市场陷入“内卷式”竞争,出现了劣币驱逐良币的苗头。部分企业牺牲产品质量,导致玻璃破损、结构失效、封装......

“卖铲人”戏份足 韬定律催生半导体设备新需求
股票

“卖铲人”戏份足 韬定律催生半导体设备新需求

在全球半导体产业面临物理极限与高昂成本的双重挑战之际,华为给出了全新的解题思路——韬(τ)定律(下称“韬定律”),不再死磕晶体管的物理尺寸,而是通过器件、电路、芯片到系统层面的多层级协同优化,系统性降低时间常数(韬τ)来提升晶体管密度,实现半导体与电子系统的持续演进。接受上海证券报记者采访的产业链及投资界人士普遍认为,从中长期来看,韬定律催生半导体设备新需求,“卖铲人”将迎来新机遇。 “韬定律的核......

追逐资产管理规模增长 银行打响零售“资产争夺战”
股票

追逐资产管理规模增长 银行打响零售“资产争夺战”

专家观点 □ 在净息差持续收窄的背景下,银行需要通过做大资产管理规模(AUM)获取资产管理费、综合服务费等非息收入,优化收入结构 □ 银行也希望借助活动,引导客户资金从单一存款流向理财、基金、保险等多元化产品,从而优化负债结构 ◎记者 黄坤 银行业正在掀起一场零售领域的“资产争夺战”。5月26日,上海证券报记者获悉,多家银行近期密集推出“资产提升”活动,通过微信立减金、消费券、积分、权益礼包等方式......

产业迎来重构 韬定律推动大规模AI算力集群商用
股票

产业迎来重构 韬定律推动大规模AI算力集群商用

◎记者 宋薇萍 韬(τ)定律(下称“韬定律”)的横空出世,不仅为半导体产业开辟了在先进制程受限条件下的性能提升新路径,也为算力产业打开了全新的想象空间。多位专家对上海证券报记者表示,韬定律或将重构AI算力产业,华为大规模AI算力集群商用有望“提速”。 AI算力行业人士郑鸿飞表示,依托完备成熟的AI硬件全产业链配套体系,叠加韬定律带来的行业技术演进红利,未来2到3年,我国有望在大规模AI算力集群商用......

技术进展如何?何时能够量产? 科创板新材料产业链公司开启产业化竞速
股票

技术进展如何?何时能够量产? 科创板新材料产业链公司开启产业化竞速

◎记者 严晓菲 业务进展如何、何时能够量产——在5月26日举办的科创板“十五五”主题集体业绩说明会之新材料行业专场上,莱特光电、金博股份、八亿时空、瑞华泰等新材料产业链公司就量产进度、产能建设、技术研发等投资者关切话题集体作答。 莱特光电投资10亿元打造石英纤维电子布项目,金博股份推进碳陶制动盘向“规模化放量初期”迈进,瑞华泰新产品打破国外技术垄断,八亿时空推动光刻胶树脂更大规模量产线建设……新材......

抢抓二季度窗口期 多地齐推重大项目
股票

抢抓二季度窗口期 多地齐推重大项目

本报记者 韩 昱 二季度是项目建设发力、投资放量的关键期,各地密集推进重大项目开工建设。 例如,近日,深圳市举行2026年第二批重点项目暨新一批“工业上楼”项目现场推进会,全市汇总了279个重点项目,总投资1524.3亿元,年度计划投资390.9亿元。在项目类型方面,除传统基础设施、社会民生等领域项目之外,还包含打造高品质、定制化产业空间的升级版“工业上楼”项目,以及“闪充旗舰......